用户管理
约 555 字大约 2 分钟
使用手册用户管理
2024-11-28
用户管理说明
管理系统内的用户,用户可以根据对应的角色权限查看或者管理数据。
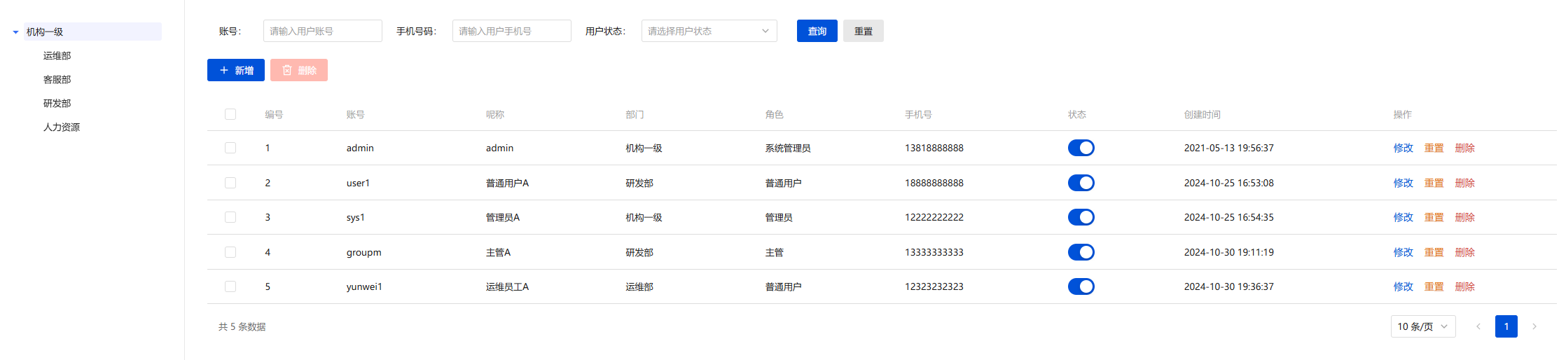
用户列表
用户管理页面提供了对用户信息的关键展示、新建、删除、查询等管理。 
提示
图片可点击放大。
| 项目 | 说明 |
|---|---|
| 部门树 | 可选择不同的部门查看其部门用户。 |
| 编号 | 部门的序号。 |
| 账号 | 用户登录时所使用的账户。 |
| 昵称 | 用户的昵称。 |
| 部门 | 用户所属部门。 |
| 角色 | 用户的角色。 |
| 手机号 | 用户的手机号。 |
| 状态 | 禁用则该用户无法登录。 |
| 创建时间 | 用户管理的创建时间。 |
| 操作 | 点击重置按钮修改该用户的登录密码,点击修改按钮对用户信息进行编辑, 点击删除按钮则删除用户。 |
查询条件
当前支持以下查询条件:
- 账号
- 手机号码
- 用户状态
新增用户
点击用户管理管理页面的新增按钮,即可进入新增用户管理页面,在部门树选择部门之后创建则默认归属于该部门。 
| 项目 | 说明 |
|---|---|
| 昵称 | 用户的昵称。 |
| 所属部门 | 用户所属部门。 |
| 手机号 | 用户的手机号。 |
| 邮箱 | 用户的邮箱。 |
| 账号 | 用户登录时所使用的账户。 |
| 密码 | 用户登录时所使用的密码。 |
| 性别 | 用户的性别。 |
| 状态 | 禁用则该用户无法登录。 |
| 岗位 | 用户所在的岗位。 |
| 角色 | 用户的角色。 |
| 备注 | 用户的备注信息。 |
删除单个用户
点击列表操作栏的删除按钮,则可删除指定用户。
批量删除用户
在用户列表页左侧,勾选多个用户后,点击列表上方的删除按钮,即可批量删除用户。